Применение
- Для транспортировки и работы с инструментом на строительной площадке.
- Алюминиевый стол специально разработан для удобства работы и повышения эффективности использования торцовочной пилы, настольных станков, таких как пилы, ленточнопильные станки, спиральные пилы, строгальные станки и т. д.
- Для размещения инструментов и заготовок.
Описание
Роликовые опоры. Регулировка по высоте. Складные ножки.
Ручка и два колеса.
Характеристики
Материал: алюминий, сталь
Рабочая зона, мм (1120–2650) х 765
Высота стола, мм 860–970
Ширина опорного узла, мм 255
Максимальная нагрузка, кг 250
Размеры в сложенном состоянии, мм 1250 х 395 х 240
Вес 15,4 кг
Комплектация
Стол -1 шт.
Производен KRAFTOOL

Инструменты KRAFTOOL (КрафТул) созданы для профессионального, успешного выполнения обширного спектра строительных и ремонтных работ. Качество достигается за счет современных технологий, рабочего процесса, опыта. Каждая партия проходит проверку. Продукция соответствует государственным стандартам РФ, имеют сертификаты.
Рекомендация "Арсенал Мастера РУ"
Рекомендуем к покупке, доставим по всей России.
Раскрытие опор
Расположите стол на ровной поверхности опорами вверх. Нажмите на фиксирующий рычаг и поверните опору до щелчка фиксатора. Убедитесь в надежной фиксации ножек. Переверните стол и убедитесь в устойчивости.

Установка колес
В специальные крепления на столе установите ось, с внутрений стороны установите шайбу ø8 мм и гайку М8, с другой стороны установите шайбу ø12 мм. затем колесо, гайку ø8 мм и затяните гайкой М8.

Установка ручки
Смонтируйте ручку на посадочные направляющие, совместив отверстия, установите в них винты М6 х 35 мм и затяните гайкой М6

Установка боковых опор
Установите боковую опору в специальную направляющую, отрегулируйте требуемую высоту и зафиксируйте положение нажатием на рычаг.

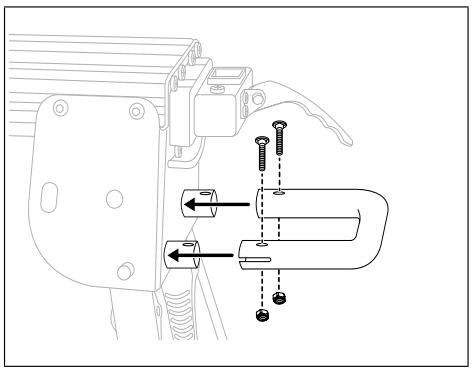
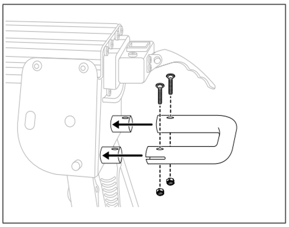
Смонтируйте пилу на монтажные скобы при помощи набора крепежа для крепления пилы. Убедитесь, что скобы параллельны.

Монтаж скоб (На Рис. пила не показана)
Задней частью скобы зацепитесь за стол, затем зажмите фиксатор и опустите скобы с пилой на стол. Для демонтажа пилы нажмите на фиксатор и поднимите пилу.
Колеса только для артикула 38782-2

Транспортировка
При транспортировке соблюдайте осторожность при перемещении стола в сложенном виде, чтобы предотвратить потерю равновесия.
Запрещено транспортировать по лестнице, используя колеса.

